Patent Nr. 709 682 Vibrationsentspannung Patentschrift Schweiz
Patent Nr. 709 682 Vibrationsentspannung Patenturkunde Schweiz
Patent 2014 3D Vibrator VS Anmeldung Schweiz
Patent 2014 3D Vibrator VS Hinterlegbescheinigung Schweiz
Patent 2014 3D Vibrator VS Offenlegungung Schweiz
Patent 2014 3D Vibrator VS Anmeldung Deutschland
Patent 2014 3D Vibrator VS Offenlegung Deutschland

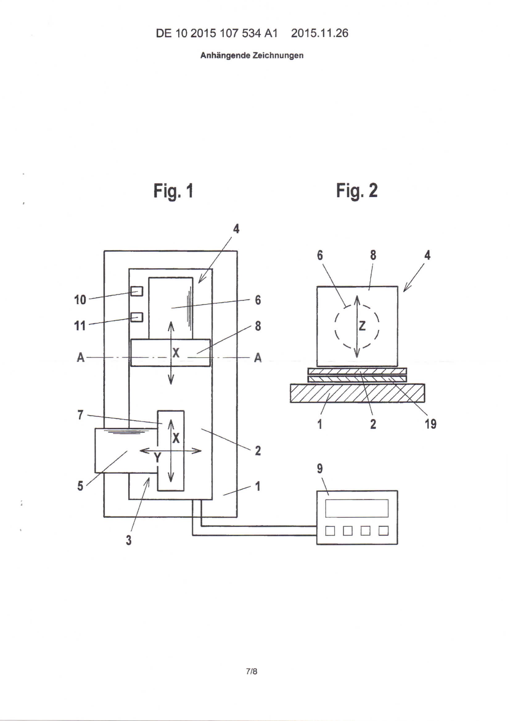
Bild 1: Patent 2014 3D Vibrator VS